常見用途:
XLCS 型旋流沉砂池除污機主要用于污水處理廠中的預處理,用于初沉池前、格柵后。去除污水中較大無機顆粒。
型號表示方式:
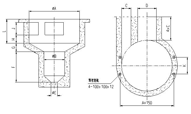
構造及工作原理:
XLCS 型旋流沉砂池除污機主要利用機械葉輪的旋轉,控制進入水流的流速與流態,使砂在離心力與重力的作用下,沿池壁呈
螺旋線加速沉降,同時有機物在水流的作用下,隨水流漂走,沉入池底的砂經空氣或泵提升,與少量污水進入砂水分離器中進
行分離后排出,清洗水回流至格柵井,從而達到除砂的目的。
一般氣提用羅茨鼓風機作提升動力,泵提用潛水排污泵作提升動力。
技術參數:

